Continua il percorso di innovazione promosso da Amazon per quanto riguarda la realizzazione di soluzioni tecnologiche che permettano di gestire in maniera più semplice e conveniente le spedizioni di pacchi: la società di Jeff Bezos, in effetti, ha depositato la richiesta per il rilascio di un brevetto relativo alla realizzazione di gallerie sotterranee da usare in ambito logistico.
La ricerca di soluzioni per assicurare tempi di spedizione davvero efficienti, in grado di raccogliere il massimo livello possibile di apprezzamento da parte dell’utenza, è davvero cruciale per un’azienda come quella di Jeff Bezos che, nel corso degli ultimi anni, è riuscita a registrare numeri sempre più importanti in termini di vendite tramite il suo store online.
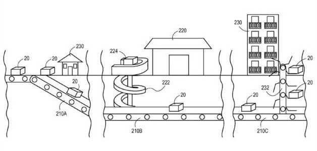
Amazon quindi va già oltre i droni, i camion elettrici, i robot e le auto a guida autonoma, con delle gallerie sotterranee che dovrebbero mettere in collegamento i magazzini del gruppo di Seattle con gli aeroporti, velocizzando ulteriormente le operazioni di spedizione, grazie all’uso di rulli. Vedremo mai realizzate queste infrastrutture? Chi lo sa…
