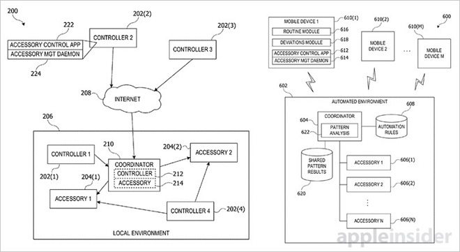
Apple ha depositato un nuovo brevetto – a questo link trovate il testo integrale del documento – presso l’ufficio americano Patent and Trademark intitolato Aggregating user routines in an automated environment e con lo scopo di inserire all’interno del framework HomeKit funzioni che permetterebbero ai diversi dispositivi Smart presenti in casa di rispondere in modo automatico e indipendente in base alle abitudini di ogni singolo inquilino.
Il nuovo sistema sarebbe in grado di tracciare gli utenti grazie ai loro dispositivi (iPhone e Apple Watch) e di aggregare all’interno di profili personalizzati le abitudini di utilizzo dei diversi ambienti domestici. Grazie a queste informazioni, il sistema di gestione della casa potrebbe essere in grado di gestire in modo autonomo i diversi ambienti all’interno della casa dopo aver raccolto sufficienti informazioni per generare uno schema che riassume le abitudini di ogni utente.
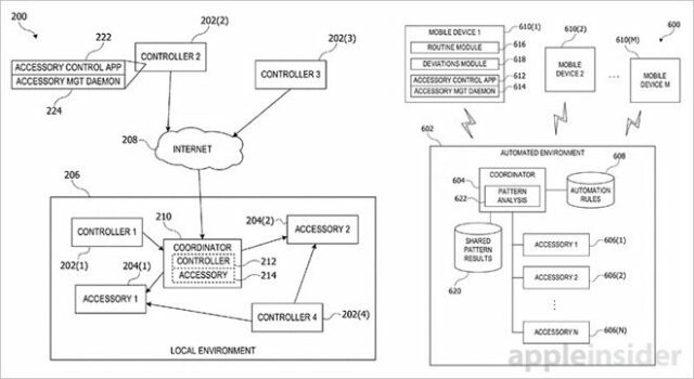
Per creare i profili utente il sistema utilizzerebbe i dati accumulati dai sensori a bordo dei dispositivi portati o indossati dall’utente, in modo da comprendere che tipo di attività sono svolte dagli inquilini. Ciascun utente potrebbe inoltre definire dei programmi personalizzati che il sistema demotico potrebbe attivare in autonomia al verificarsi di determinate condizioni.
Al momento non sono disponibili dettagli specifici relativi a queste nuove funzioni che Apple vorrebbe sviluppare per portare avanti il programma legato al framework HomeKit per la domotica. Le difficoltà legate alla gestione domotica in presenza di più persone con abitudini differenti è molto più complessa di quella limitata alla presenza di un singolo individuo che, peraltro, presenta ancora oggi molte difficoltà .
In effetti, la piattaforma HomeKit – a differenza di quella HealthKit – offre ancora poche funzioni e soprattutto poca flessibilità rispetto a quanto ci si aspettava dopo gli annunci di Apple. La casa di Cupertino dovrà anche proporre una soluzione per risolvere l’assenza di un hub centrale in grado di gestire a livello macroscopico tutti i sottosistemi della casa; la soluzione potrebbe essere legata all’Apple TV, ma al momento non è ancora chiara la direzione che Apple intende seguire per sviluppare i propri concetti legati alla casa smart del futuro.

