Un brevetto presentato di recente lascerebbe presagire la volontà, da parte della casa nipponica, di entrare nel mercato dell’emulazione della storica console: il case ufficiale è in grado di trasformare qualsiasi smartphone in un Game Boy.
Dopo aver dato il là alle riedizioni delle vecchie console domestiche in formato “mini”, Nintendo sarebbe ora pronta a lucrare ancora sulla nostalgia videoludica con un case pensato per replicare l’aspetto di un Game Boy sugli smartphone moderni. Da qui all’emulazione “legale” dello storico handheld il passo è oggettivamente molto breve.
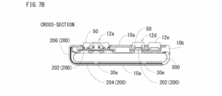
Il nuovo “guscio” formato Game Boy emerge da un brevetto recentemente presentato da Nintendo presso l’USPTO (United States Patent and Trademark Office), un’idea che descrive un case – o per meglio dire una cover – con una replica dell’interfaccia fisica di un Game Boy, con i pulsanti della console in basso e una piccola porzione di schermo sulla parte superiore per la visualizzazione dei giochi.
I pulsanti sono in grado di interagire con lo schermo touch sottostante, dice ancora il brevetto, e la cover può anche essere aperta per avere accesso al display del dispositivo nella sua interezza. Oltre agli smartphone, suggerisce il documento, il guscio-GB potrebbe anche arrivare su terminali con form factor differenti come tablet e simili.
Nintendo non cita espressamente l’impiego del case per l’emulazione del Game Boy su smartphone, ma tutto lascia intendere che l’obiettivo finale sia proprio quello; la corporation si prepara quindi a incrementare gli investimenti nel mercato mobile, con un approccio che questa volta sfrutta la tanto bistrattata emulazione per continuare a incassare profitti sul codice videoludico risalente agli anni ’80 e i primi ’90.
Nintendo è infatti ben nota per il suo approccio a dir poco draconiano nei confronti di chi distribuire le ROM dei suoi giochi in rete, e proprio dall’iniziativa legale della casa nipponica è recentemente scaturita l’ennesima morìa di siti specializzati con il culmine della chiusura dei download su EmuParadise.




