Il prossimo tablet Microsoft della linea Surface Pro potrebbe includere un sistema di alimentazione e ricarica a base di pannelli solari. Un brevetto fa sperare ma al solito non garantisce alcunché.
Destinato a prendere il posto del pur recente Surface Pro 7, il prossimo convertibile 2-in-1 appartenente alla linea Surface potrebbe includere una novità significativa sul fronte dei consumi e dell’approvvigionamento energetico. Microsoft starebbe infatti lavorando a una Type Cover (Cover con tasti in italiano) equipaggiata con pannelli solari, con una configurazione flessibile e possibilità di utilizzo sia outdoor che indoor.
I nuovi rumor sul Surface Pro 8 arrivano grazie a un brevetto registrato – e reso pubblico solo di recente – da Microsoft presso l’Ufficio Brevetti USA (USPTO), con una tecnologia innovativa che descrive un “dispositivo mobile coperto con pannelli solari integrati” in grado di catturare la luce esterna e alimentare il tablet 2-in-1 Surface.

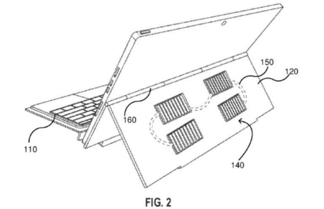
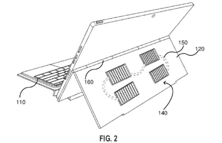
Il design specificato da Microsoft nel suo brevetto indica la presenza di quattro diversi pannelli solari sul retro della Type Cover per il nuovo Surface Pro, specificando altresì che sarebbe possibile usare sia la luce solare che quella artificiale da interni; in più, i pannelli solari potrebbero ricaricare la batteria del tablet mentre questo è in uso.
La Type Cover di Surface Pro 8 potrebbe adottare diverse varietà tecnologiche di pannelli solari, dice ancora Microsoft, con più di quattro pannelli per cover utilizzabili in contemporanea. La possibilità di variare l’angolo della cover, poi, permetterebbe di posizionare al meglio l’accessorio così da ottimizzare la cattura dell’energia luminosa necessaria alla ricarica della batteria.
Una cover con tasti contenente pannelli solari tecnologicamente avanzati è al momento una caratteristica piuttosto insolita per i tablet e i convertibili realizzati dai maggiori produttori; qualora il brevetto di Microsoft si concretizzasse, dunque, darebbe modo alla corporation di Redmond di differenziarsi e spiccare su una massa sempre più affollata di offerte e dispositivi differenti.